Zum Hauptinhalt springen Zur Suche springen Zum Menü springen

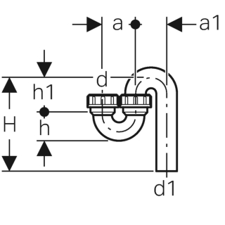
Sifon Ein-Auslauf senkrecht 56-56 152042161

72,50 CHF
inkl. 8,1% MwSt.
Stk